乐玩网页版

后台入口
0516-82615430/13852032141
泰默产品分类
您的位置:
thumb
thumb
thumb
thumb
thumb
thumb
thumb
thumb
thumb
thumb
thumb
thumb

打滑检测器DH-III

概述

本机用于带式输送机运行中胶带与主动滚筒出现打滑(失速)故障。可防止由于打滑所造成的严重事故的发生,本机还可用于多条带式输送机的连锁启动和停机,低速抱闸或超速保护等。使现场操作简单化提高了安全性。在钢铁、电力、煤矿及港口等有带式输送机的行业得到广泛的应用。


0516-82615430 / 0516-87830430
泰默机械精选产品
产品特点 详细参数


工作原理

打滑检测器工作时,通过胶带带动触轮,使触轮反应出胶带的实际带速,触轮带动检测器内传动轴,使产品内部继电器工作,继电器工作主要是由轮片切割光电信号,由内设固定数值与实际值产生对比数值从而产生通断信号,完成检测带速工作,如果胶带速度与主滚筒速度不同步并下降到正常带速的20-30%时,接点通断信号发生变化,重新输出一组信号给控制室,警示工作人员胶带已处于严重打滑状态。

eee768568d7c657b3a66a3136be40b6c.png

打滑检测器型号

DH-III打滑检测器、DH皮带打滑检测器


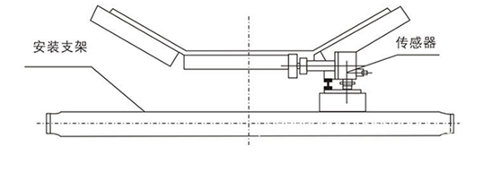
安装说明

1.先将固定支架焊在输送机的横梁上;再将支臂用销轴、开口销连接在支架上。

2.安装后应满足下述要求:打滑检测器装置按胶带运行方向顺向放置,触轮距胶带边缘200-300mm

192c91104f5f2038bee46ac3400413f0.png





打滑检测器主要技术指标


检测带速范围:0.8~3.5米/秒

供电电源:AC 380V (AC 220V), 2A, 50HZ;

绝缘电阻:≥ 20 MΩ

触点数量:一开一闭两组触点,双向动作;

触点容量:电压500V以下,电流2A以下

触点寿命:不大于10万次;    

打滑率:25%~30%(可以用户要求而定)

工作环境:-30~+60

防护等级:IP54.


客户评价

常见问题 MORE+